When it comes to wearable technology like the Apple Smart Watch, comfort and usability often collide. Many of us have experienced the frustration of a watch band that’s either too tight pulling on skin and hair or too loose, sliding uncomfortably as we move. The latest patent application from Apple Inc., US20250351930A1 published on Nov 20, 2025, introduces an innovative solution a watch band with dynamic, user-responsive adjustment, blending advanced materials and smart design to create a truly personalized fit.
Apple Smart Watch – Patent Application Basic Details:

Publication Number: US20250351930A1
Title: Watch Band with Adjustable Fit
Applicants: Apple Inc., Cupertino, CA, USA
Application Number: 18/668,022
Filing Date: May 17, 2024
Publication Date: November 20, 2025
Apple Smart Watch – The Problem with Conventional Watch Bands:
Traditional watch bands pose recurring issues:
- Limited adjustment options (buckles, pins, or elastic bands).
- Potential for pinching, sliding, or discomfort during intense activities.
- Difficult, often tool-required resizing for optimal fit.
- Changes in comfort based on environmental (temperature, humidity) or biological (sweat, inflammation) conditions.
As smartwatches combine timekeeping and health tracking, the need for adaptable comfort becomes even more pronounced.
Apple Smart Watch – The Inventive Solution: Dynamic Adjustment
Apple’s newly published patent application discloses the watch band addresses these issues by integrating:
- Shape-memory alloys: These advanced materials change their form in response to stimuli (like heat), allowing the band to tighten or loosen seamlessly.
- Active and passive adjustment: Stimuli can be generated by body heat, electrical signals, or directly from the watch.
- Multiple operational modes: Tension controllers inside the device select modes such as “tightening,” “loosening,” “rigid,” or “flexible,” suited to user activities.
Apple Smart Watch – How It Works?
Key Components:
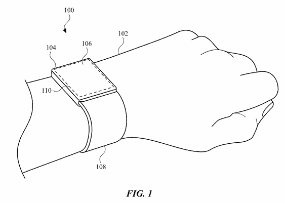
- Tensioners and Tension Controllers: Structural band elements (tensioners) respond to electronic controllers to apply stimulus (e.g., heat or electrical current).
- Shape-memory Alloy Placement: Inside the band, these alloys can run longitudinally, serpentinely, or through the band’s thickness. When activated, they alter the band’s fit dynamically.
- User Input and Smart Sensors: The watch may prompt fit adjustments based on sensor readings (heart rate, activity), or the user can manually request a change through touch or force input.
Adjustment Methods:
- Length Adjustment: Band can become longer or shorter as needed.
- Shape Adjustment: Band cross-sectional shape changes for tighter or looser engagement.
- Thickness Adjustment: A thicker or thinner band according to comfort requirements.
Material Innovations:
The smart band is built from flexible materials like fluoroelastomeric polymers, chosen for:
- Comfortable flexibility: Durometer range supports both contouring and structural support.
- Customizable properties: Doping agents can adjust color, texture, conductivity, and even antimicrobial or hypoallergenic characteristics.
- Combinations: Bands may blend compliant (soft, flexible) and non-compliant (structured, durable) materials for optimal wear.
Apple Smart Watch – Health and Usability Benefits:
- Improved sensor accuracy: Tightening during health measurements ensures better data from sensors like heart rate or oxygen saturation monitors.
- Event-based fitting: Looser fit during casual wear, tighter during exercise, all controlled by the device.
- User-friendly operation: No need for tools adjustments happens automatically or with easy user input.
Apple Smart Watch – Real-World Impact:
This patent application discloses not only wrist-worn configurations but extension to other wearables necklaces, armbands, pet collars showing the broad potential for responsive, comfortable fit across many sectors.
For users, this means:
- Enhanced comfort across varied activities and environments.
- Reliable accuracy for health monitoring.
- A seamless, “set-and-forget” experience, encouraging sustained wearable use.
Apple Smart Watch – Conclusion:
Apple’s disclosure in patent application for its dynamic watch band technology, equipped with smart tensioners and memory alloys, signals a step-change in wearable device comfort and usability. By merging materials science with electronic intelligence, users get a watch that actively adapts making discomfort and fiddly manual adjustments a thing of the past.























1 thought on “Adaptive Apple Smart Watch Band Coming Soon?”